主站內容屬性設置教程
有時候我們管理員需要對某些內容進行網站頭條、幻燈片、推薦等屬性設置。就可以用到這個功能,這個需要事先管理員對模板位置先進行標簽設置調用,用來調用顯示哪些屬性的內容。
比如這個首頁的幻燈片,設置了內容必須【首頁幻燈片】屬性的內容才可以顯示此處:

一、打開【統一登陸地址】----點擊進入【各自站點會員中心】
統一登錄的一般網址是: 動態域名/dl.html (具體網址由管理員提供)

二、屬性設置方法1(會員中心設置屬性):
A、點擊【我簽核的內容】-------點擊某篇內容【修改】

B、點擊所需的【內容屬性】,可以多選-------點擊【提交發布】

備注:如果要刪除屬性,就點擊編輯內容,將屬性勾選去掉即可。
另外如果看不到這個屬性設置頁面,聯絡管理員進行權限設置。

C、此處可以看到內容屬性標記位置

D、點擊【我簽核的內容】-----點擊【更新首頁】,然后刷新頁面即可

三、屬性設置方法2(后臺設置屬性):
A、在自己站點會員中心--------點擊【我簽核的內容】-------點擊【屬性】---提示重新輸入賬戶密碼,即可進入后臺進行操作

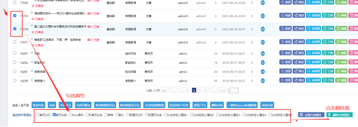
B、勾選對應【屬性】,可以多選-------點擊【設置內容屬性】

E、此處可以看到內容屬性標記位置

備注:此方法如果要刪除內容屬性:
就勾選對應內容----------勾選對應屬性--------點擊刪除內容屬性。

四、然后靜態首頁:
進入本站后臺------鼠標放在【更新網站】按鈕上--------點擊【靜態本站首頁】:

五、查看效果:
打開對應首頁------鼠標快速連續兩次點擊【刷新】按鈕------就可以打開查看到效果了

文檔下載:
子站設置內容屬性.docx