國微系統主站超管設置教程
說明:本教程是讓管理員全面集中掌握系統的設置操作,屬于超級管理員非常重要教程
一、統一登陸入口(登錄)
所有用戶登錄,都集中在此界面; 一般網址是: 動態域名/dl.html
主站入口:主站會員中心(發布內容) 、主站后臺、主站首頁
子站入口:各子站會員中心(發布內容) 、各子站后臺、各子站首頁標簽、各子站首頁

二、如何關閉和開啟系統的用戶注冊;如何多次輸入錯誤密碼鎖定賬號;
A:為了安全,一般都關閉系統注冊;采用在后臺“系統設置--會員管理”添加用戶。

B:如果登錄密碼試錯幾次,則鎖定此賬號多少分鐘

三、如何開啟“會員中心”登錄是否啟用驗證碼;
為系統安全,一般需要開啟登錄驗證碼;如果有時候登錄驗證碼反復錯誤,則登錄后臺關閉驗證碼。

會員中心開啟驗證碼的效果如下:

四、如何設置網站名稱和概要
網站的標題、概要、關鍵詞需要設置下;方便百度收錄

五、logo如何上傳設置
網站的logo,可以此處上傳,一般傳透明的png格式;上傳后,需要更新模板緩存,靜態首頁。

六、如何設置開啟和關閉本網站
有時候需要臨時關閉網站,選擇“否”則關閉,然后輸入網站關閉提示;重新更新標簽緩存和靜態首頁。
備注:關閉網站后,超級管理員還是可以看到正常頁面的;其他游客看到的關閉界面效果。

七、特殊日子如何設置網站灰色顯示
特殊紀念日子需要網站一鍵變灰,直接開啟“是”;然后更新全站緩存、靜態首頁;(如果整個網站都需要變灰,則靜態所有欄目和內容)
備注:如果需要能網站變灰,需要網站頭部加上了對應代碼

八、如何后臺綁定主站域名和基域名
我們網站遷移的時候,這兩個域名位置可以留空;但是正常運行中,一般此處都要填寫域名;
填寫域名后,方便站群子站不會錯亂;特別是基域名需要填寫。
網站域名:前面必須要有http或htpps 基域名:前面不需要htpp或htpps

九、是否開啟靜態化全局設置;如何內容第一張圖片設置為封面
A:有時候我們需要網站訪問頁面時,不需要訪問數據庫,就將網站靜態即可,第一步就需要開啟靜態開關(同時勾選應用到所有分類);一般此處推薦勾選是。
B:如果需內容封面圖,默認調用編輯器內容里面的第一張圖片,就勾選下面第二個“是”;一般會推薦勾選。

十、設置靜態資源的存放路徑
網站安裝后,靜態資源域名需要設置下,否則手機版和一些地址打開錯誤;特別是手機版,會出現重復兩個地址。(此處一般填寫自己的網站域名即可)

十一、開啟手機移動版的設置
如果要開啟手機版,就按下面設置;手機版的訪問路徑為: 域名/m

十二、如何修改網站后臺地址
系統為了安全,我們一般安裝后,會修改后臺網址;但是“.php”這個后綴務必不能修改;前面可以是數字字母,不能是特殊符號。設置后,直接采用新的后臺地址訪問,比如:域名/xxx.php

十三、如何開啟后臺登錄驗證碼
為了安全,有時登錄后臺,需要開啟后臺驗證碼,則點擊是(一般推薦開啟);如果出現登錄后臺驗證碼反復錯誤,則關閉驗證碼。

十四、如何創建和修改后臺登錄安全碼
為了系統安全,我們有時候需要設置雙重密碼,就是安全碼,安全碼輸入數字即可;設置后,登錄后臺,就需要輸入這個口令才能進去。 如果要取消,則刪除數字為空即可。

十五、如何修改網站通信密碼
為了安全,每個項目安裝后,都要修改通信密碼,可以是任意數字字母;防止接口漏洞。

十六、如何修改cook讓現有緩存都失效
有時候看過此網站的用戶,很多瀏覽器緩存,反復看不到效果;管理員直接修改下cookie前綴即可;
可以是任意數字字母;修改后,需要重新登錄。

十七、如何設置設置自動退出登錄的時間
為了安全,有時候登錄多久不操作就必須自動退出登錄,點擊此處設置即可。推薦設置為10分鐘。

十八、如何設置附件顯示不出來的解決方法
有時候突然發現所有附件地址都變了,比如“#P8_attach#”;這個時候,就可以設置下附件入庫處理“是”;然后更新全站緩存,靜態頁面即可。

十九、如何開啟動靜態分離全局設置
現在大型項目,一般都采用動靜態分離部署;就需要開啟動靜態分離設置,并輸入動態主站網站域名(就是你現在打開動態后臺網站域名);
有時候站群的分站欄目展不開,也是需要填寫此處。

二十、如何設置”防攻擊模式”和”反跨站請求偽造”的安全模式
為了系統安全,我們需要設置此處;特別是“開啟攻擊防護模式”將極大的屏蔽大部分攻擊;
”反跨站請求偽造”開啟的時候,需要注意是不是在采集,采集的時候需要關閉;如果登錄反復出現問題,可以考慮暫時關閉。

二十一、出現問題時候,如何開啟錯誤調試查看原因
網站運行總會出現各種問題,如果要排查問題,第一時間,就是開啟錯誤調試,查看錯誤提示,切圖給工程師。

二十二、如何添加內容敏感詞
發布內容的時候,如果有敏感詞,發布內容就會提示預警??梢詥蝹€手工添加。
如果批量添加,記事本必須用utf8格式,里面每個關鍵詞占據一行。



二十三、如何設置全局ip控制(分局域網內網和外網)
為了方便我們對各個欄目、內容、站點開啟只供局域網內訪問,我們可以設置公共的局域網訪問IP段。里面包括了允許公網ip、局域網IP段等。

二十四、如何設置后臺只能局域網或特定IP登錄
設定只有哪些IP可以登錄后臺;我們可以直接勾選“僅局域網訪問”后臺。

二十五、設置白名單讓整個網站只允許特定IP訪問
我們設置只允許哪些IP可以訪問本網站;不過設置此處后,禁止類IP就失效了。

二十六、設置IP黑名單不允許特定IP訪問
我們設置只允許哪些IP不可以訪問本網站;設置此處后,白名單就失效了。

二十七、如何啟用欄目、內容頁、子站為局域網訪問
A:本欄目只允許局域網訪問;后臺-欄目管理----編輯欄目---權限設置----啟用僅限局域網訪問

B:本內容只允許局域網訪問;后臺-內容管理----編輯內容---其他設置----啟用僅限局域網訪問

C:本站點只允許局域網訪問;后臺--站群系統----編輯站點---更多選項----啟用僅限局域網訪問


二十八、如何操作安全掃描對比
為了確定我們現在運行的代碼,是否被黑客篡改;我們就進行下不同版本的校驗即可。
A:安裝網站后,我們一般都需要創建一個校驗版本;點擊“重建掃描對比文件”,一般需要5分鐘。
當然我們任何時候都可以設置自己所需的校驗源頭版本。并且自己命名。
B:如果我們需要確認,我們現在的代碼有沒有被篡改,就重新點擊“重建掃描版本”,掃描成功后,刷新。勾選自己的版本和之前的校驗版本;進行對比掃描,就可以看到核心代碼是否被修改。


二十九、如何設置數據自動備份機制
除了我們用服務器腳本進行數據自動備份外,我們系統支持后臺自動備份;添加計劃任務的方式即可。
如果沒有默認的,就點擊“添加計劃任務”

輸入如下操作:
腳本代碼是: db_backup.php 一般設置5天備份一次;
數據備份的位置在:網站根目錄----data----db_backup

三十、如何設置自動靜態PC和移動首頁機制
同上,也是計劃任務;主要是自動靜態網站首頁。
計劃任務腳本:cms_index_to_html.php 時間間隔:5分鐘左右

三十一、如何設置自動靜態欄目大列表
同上,也是利用計劃任務,他的作用是靜態主站大列表;因為大列表默認不自動靜態。
腳本:cms_list_to_html.php?cid=831,12865 這個數字是欄目ID,后面可以按格式添加ID

三十二、如何設置自動靜態站群子站欄目大列表
同上,也是利用計劃任務,他的作用是靜態站群子站大列表;因為大列表默認不自動靜態。
腳本:csites_list_to_html.php?site=school01&cid=12865,12895 這個school01是子站名稱,數字是欄目ID,后面可以按格式添加ID

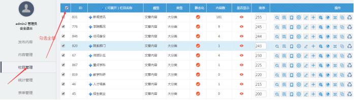
三十三、主站欄目靜態如何開啟和關閉
A:如果網站需要可以靜態化,除了開啟全局靜態設置外,主站的欄目管理處,也需要開啟欄目靜態。
操作:欄目管理-----勾選所有欄目

B:靜態開啟
“開啟所有靜態”:表示欄目和內容都開啟靜態了;我們一般選擇開啟此處;他的效果狀態是“紅色”
“開啟僅內容靜態”表示只開啟內容靜態,欄目不開啟。他的效果狀態是“藍色”


三十四、內容縮略圖大小設置
有時候我們需要設置封面縮略圖的大小尺寸,讓他不模糊;可以通過設置合適的縮略圖大小尺寸;
需要看到效果的話,要重新上傳圖片查看。
同時可以設置內容頁里面的圖片大小尺寸,一般默認效果是合適的,如果需要變大,則根據自己需要設置;同樣我們要查看效果,需要重新上傳。

三十五、如何設置主站和子站屬性權限
A:主站屬性權限設置
我們需要讓哪些角色可以設置屬性,比如頭條、推薦、幻燈片。那么就需要設置下這個功能。
需要哪個角色可以管理哪個屬性,就對應勾選即可。

B:站群子站的屬性權限設置
點擊圖標位置,進入站群子站屬性設置

然后勾選各自角色所需的屬性功能;一般選擇“分站管理員”角色;讓分站管理員可以設置子站的屬性。當然對主站的終審編輯組也可以設置,他權限大點沒有關系。

三十六、附件上傳權限設置
為了安全,我們進行要進行附件格式的控制;此處為允許上傳附件的總開關;添加允許上傳的附件格式。

總開關設置后,還可以控制各個角色允許上傳的附件類型;其中游客原則上不允許上傳附件;其他角色根據情況定義。


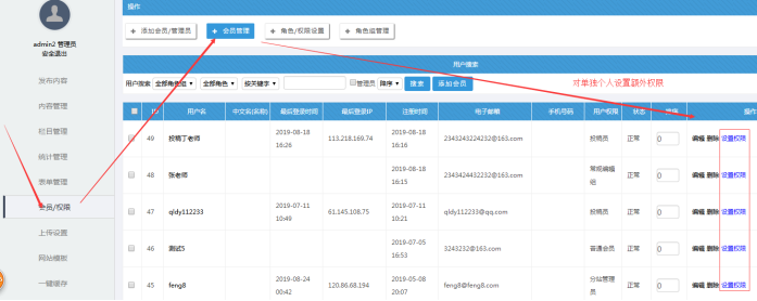
三十七、角色權限如何設置
如果我們需要對不同的角色,設置不同權限,點擊此處;我們一般“設置前臺權限”即可,他管控著內容瀏覽、內容發布、內容管理。

有時候需要設置角色后臺權限,點擊此處,比如設置更新緩存、靜態欄目、標簽編輯等權限:

三十八、個人權限如何設置
同時又可設置個人權限;讓每個人都有個性化的管理權限,比如張老師管理通知公告,李老師管理新聞資訊,他們可以是屬于同一個角色。
備注:個人權限設置后,他不僅繼承了所屬的角色權限,還額外增加了自己的個性化權限。其中角色已有的權限,在個人權限設置中,不管你選不選,他都會默認繼承。

三十九、如何修改主站模板
如果一鍵切換模板,選擇所需模板,點擊提交;然后更新模板緩存(或全站緩存)----靜態首頁(其他欄目和內容頁需要靜態)--在刷新看看效果。 備注:新模板如果沒有標簽,就需要另外導入

四十、如何修改主站手機移動版模板
選擇手機版模板的方法,點擊提交;然后更新模板緩存(或全站緩存)----靜態移動版首頁(其他欄目和內容頁需要靜態)--在刷新看看效果。

四十一、如何修改站群子站模板
選擇站群子站模板方法;進入網站后臺---站群系統----編輯站點----選擇模板----點擊提交


點擊提交后;然后更新模板緩存(或全站緩存)----靜態分站首頁(其他欄目和內容頁需要靜態)--在刷新看看效果。備注:切換模板后,模板的logo和標簽需要重新導入,負責是空白。
四十二、如何禁止主站模板編輯修改
如果網站已經上線完整了,我們不允許任何修改模板了,點擊此處。

本文檔教程下載: