如何一鍵復制權限
一、統一登陸入口(登錄)
打開統一登錄入口頁面(管理員提供); 一般網址是: 動態域名/dl.html
登錄主站后臺: 點擊下面第二個按鈕
然后登錄進去。

二、進入主站后臺
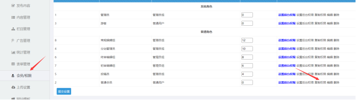
1. 點擊【會員/權限】,然后選擇所需參考的角色,在此角色后面,點擊【復制權限】

2. 選擇要賦予的權限(可以用shift+鼠標進行多個選擇,也可以鼠標+ctrl進行單個多選擇),一次可以選擇多個
目標角色,最后點擊提交即可,這樣,這些角色都有相同權限了,極大的節約了時間。某些角色有個性化權限的,
再單獨設置。

本教程文檔下載: