主站內容的審核教程(主站)
一、“登陸”與“進入會員中心”
主站的任何欄目,都可以指定人員審核;可以不同的人審核不同的欄目;也可以一人審核所有主站欄目。
總結就是:主站權限可以細化到個人、細化到欄目。 審核內容都在會員中心操作。
1) 、管理員人員登陸賬號
登陸分為“統一登陸入口”和前臺常規登陸 登陸詳細教程>>

2) 、登陸后,點擊“會員中心”進入
-----進去后可以進行內容發布、內容審核、更新首頁
![]()
3) 、進入內容審核界面:點擊“我簽核的內容”
我們一般那90%的概率,都只需要在“需直接審核的內容”處點擊,因為一般都只要一級審核機制。
如果欄目內容需多級審核,就會用到“需初審核的內容”和“需多級審核的內容”。
審核界面頁面效果如下:

下面我們開始來進行內容審核操作吧。
二、常規直接審核方式(最常見)
1)、直接進行內容審核方式
如果一個人對這個欄目既擁有初審,也擁有終審權力,那么為了審核內容簡單起見,只需在“需直接審核”按鈕下審核內容即可。 在進入”我簽核的內容”頁面狀態下,具體步驟如下:
先點擊“需直接審核”按鈕------------這樣可以看到我所需要的待審核的內容------再預覽下這些投稿內容----------接著點擊“未審”按鈕,進行“終審”或“退稿”-------最后點擊下面的“確定”按鈕

2) 、更新首頁操作
更新首頁:上面的界面中,右邊有一個“更新首頁”----------如果想審核后的內容立刻在首頁顯示,請點擊此處。
他的作用是更新緩存和靜態首頁(如果提示登錄后臺,就根據提示輸入自己賬號密碼即可)。

這樣打開網站首頁或對應欄目,刷新下瀏覽器,就可以看到新審核的內容了!
三、多級審核方式(較少使用)
如果一個欄目內容,我們需要先給第一個領導審核,然后再給第二個領導進行終審,那么就需要用到多級審核。系統事先會做這些用戶做好權限設置;同樣也是進入“我簽核的內容”頁面狀態下,具體步驟如下:
1)、初審操作
擁有該欄目內容初審權限的人,點擊“需初審核”進行相關操作即可。

2)、終審操作;
如果此賬號,只擁有該欄目內容終審權限,但沒有初審權限的人,就點擊“需多級審核”進行相關操作即可

四、其他快捷按鈕
1)、批量操作
點擊此按鈕,需要提示登錄后臺,有進入后臺權限的人輸入賬號密碼即可;擁有該初審權限的人,可以看到自己管理的欄目,方便批量處理和查詢。

點擊批量操作后的界面-----各個欄目和內容都可以點擊,并搜索

2)、修改與刪除
需要修改和刪除待審核內容的,點擊此處。

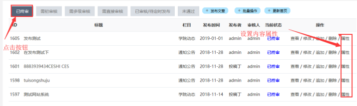
3)、屬性設置
一般對審核后的內容進行屬性設置;點擊已終審-------點擊屬性按鈕。

可以對內容進行屬性設置(首頁頭條、推薦、首頁幻燈片等)、可以推送數據到子站、簽發數據到多個欄目,等各種操作

4)、更新首頁
有時候用戶問,發布后的內容沒有在首頁看到,那是因為系統由緩存的原因。點擊更新下首頁即可。

其他關聯教程:
子站的內容審核教程:http://m.lst999.com/html/1285/2019-01-14/content-1634.shtml